在矿物加工过程中,碎磨环节占据重要地位,所以高压辊磨机的应用也受到越来越多的重视。但因为其应用具有一定的局限性,所以在行业的推广受到一定限制。近年来,我国经济持续快速发展,对于矿产资源的需求量也越来越大,因此,需要对高压辊磨机进行深入地研究和创新,以提升其在矿物加工工程中的使用效果。

高压辊磨机是以传统形式的磨机技术为基础,采用全自动控制液压压力的形式制造而成,其能够在高压状态下促使矿物颗粒聚集,并实施极高压力压缩处理,矿物颗粒受到压力作用影响,材料间的缝隙持续减小,同时压力持续上升,直至一定水平之后,被辊压的材料即可发生破碎。在针对材料进行高压辊磨时,因为混合方式不同,所以反方向运动有利于提高碾压效率。
高压辊磨机主要由机架和高压辊组成,且构成其动力以及压力的来源。高压辊磨机使用时,针对不同的材料应采用不同的压力进行处理。压力调节时,液压缸可沿导槽进行移动。工作时,高压辊通过减速器驱动,物料逐渐被加工成为压实块。相对于传统磨机来说,高压辊磨机的挤压速率更加稳定,但是实际速度相对较低。若将运转速度调节至较高状态,材料易出现滑动情况,会影响破碎效果和高压辊使用寿命。
在铁矿石加工作业过程中应用高压辊磨机,主要目的即在于预处理矿石材料,或对其进行碎化,有利于全面提升物料的成球性,同时可以降低作业过程中各项不良情况的发生率,也就可以有效控制作业过程中的各项损耗,使人力成本显著降低,同时提升碎矿系统产能及节约效果,并实现最终加工成果的优化。并且,随着当代科技发展、技术进步,高压辊磨机已经得到进一步改良,在辊宽、辊径及加工处理量等多个方面,均已大幅度提升,所以铁矿石加工处理作业的精度随之得到提升。
常用铁矿加工工艺:

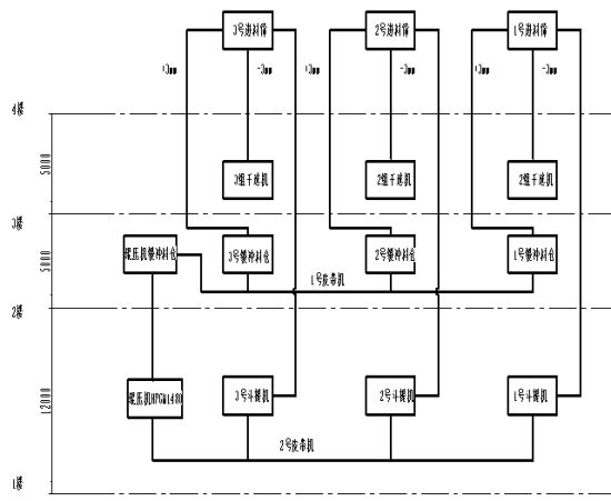
在新疆钛铁矿的使用:新疆某钛铁矿原工艺使用四台球磨机用于细碎作业,三用一备,产品入料粒度10mm,出料粒度为-3mm。根据矿石特性我们为其进行了改造,改造后使用一台HPGM1480高压辊磨机,替代四台球磨机,大幅度降低了细碎功耗。改造后工艺如下:

改造需要增加一台HPGM1480高压辊磨机,两条皮带机和缓冲料仓一个,另外就是辊压机安装基础等基建投资。
HPGM1480辊压机装机功率1260KW,通过量在420-630吨左右,根据该公司物料情况预计通过量在550吨左右。按照其三条线170x3=510吨左右的处理量,物料先经过筛分,+3mm物料按照 80%计算,每小时处理量在410吨左右,辊压机预计一次成品率在70%,410x1.3=533吨,和预计通过量550吨比较接近。经改造后实际运行情况,辊压机处理量在450t/h,与设计基本吻合。按照三台磨机1400kWx3=4200kW的装机功率,每小时处理410吨,每吨电耗10.2度;而辊压机为1260kW,每小时处理410吨,每吨电耗约3.2度,每吨节约7度电,每天按照8000吨矿计算,一天节约56000度电,按照一度电0.5元计算,每月节约84万电费,经济效益显著。
yl8cc永利磁电研制的HPGM1480高压辊磨机,在新疆某矿业公司的应用场景。



